

沛嘉医疗科技(苏州)有限公司,经导管主动脉瓣膜系统(Taurus NXT):
沛嘉医疗(9996 .HK):于2012年创办,沛嘉医疗专注于创新、研发及生产结构性心脏病和脑血管介入领域高端医疗器械,涵盖主动脉瓣、二尖瓣、三尖瓣及手术附件,脑血管介入出血类、缺血类、通路类产品,构建起国内结构性心脏病和脑血管介入领域较为全面的产品组合及解决方案。Taurus NXT:沛嘉医疗第三代介入牛心包瓣膜,将“非醛交联,瓣叶生物处理技术和超低温真空冻干处理技术应用于经导管主动脉瓣系统,属于全球首次创新,目前已经进入人体临床试验。沛嘉医疗科技(苏州)有限公司,经导管二尖瓣置换系统(High Life TSMVR):
High Life TSMVR 是经股静脉房间隔穿刺入路的二尖瓣置换系统。是涌过经主动脉路径在二尖瓣腱索周围预置一个环形结构作为锚定物,植入自膨式牛心包瓣膜,实现二尖瓣置换。植入物之间的相互锁定,形成非假体径向支撑力为基础的锚定,避免了对原生结构的损伤,同时形成有效封堵,避免瓣周漏。2020年12月,沛嘉医疗与法国highlife公司合作,布局二尖瓣治疗技术。2022年11月14日,沛嘉医疗发布公告指出,沛嘉HighLife经导管二尖瓣置换(简称:TSMVR)系统多中心注册临床试验于中国入组首例患者,并在四川大学华西医院完成首例植入。北京迈迪顶峰医疗科技股份有限公司,经导管二尖瓣修复系统(E-Chord):
北京迈迪顶峰医疗科技股份有限公司:成立于2005年,是一家聚焦先天性心脏病、心律失常、瓣膜病开发高品质设备及高端耗材,提供心血管疾病治疗整体解决方案的创新型医疗器械企业。E-Chord:以微创的方式实现了外科二尖瓣腱索的生理性修复,通过超声引导,经心尖入路,以穿刺方式植入键索,目在术中可以动态调节键索长度,以确保修复效果。通过特殊的结构设计,一键击发,使瓣叶穿刺和腱索释放同步完成,可以将伤到心房组织的风险降至最低。上海骊霄医疗技术有限公司,经导管二尖瓣膜修复系统:
上海骊霄医疗技术有限公司:于2019年正式注册成立,专注于国际医疗技术的引进、转化、研发和产业化。引进全球(包括美国、欧洲和以色列)的创新性企业和全球跨国企业自身高品质的原创医疗技术和核心专利,在国内孵化出高质量的医疗创业项目。重点关注如神经调控、介入疗法、医疗器械联合和微创手术等顶尖水平的医疗器械和手术方案,并在早期投入资金和资源进行科创孵化。北京佰仁医疗科技股份有限公司,经导管主动脉瓣系统:
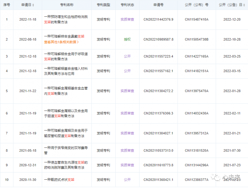
佰仁医疗(688198):北京佰仁医疗科技股份有限公司,成立于2005年,是一家致力于动物源性植介入高值医疗器械研发与生产的高新技术企业。目前在外科软组织修复、心脏瓣膜置换和修复,以及先天性心脏病植介入治疗三个板块的产品布局下,通过建设高水平的动物源性植入材料的研发平台,自主知识产权的核心技术,积极覆盖更广泛的治疗领域和产品应用,为不同患者提供更全面的治疗保障。根据公司2022年半年度报告,主动脉瓣相关产品如图中所示:
Renato介入式瓣中瓣和 Renatus介入主动脉瓣两款介入瓣产品已于3-4 月份顺利完成全部临床试验入组,共计约 320 例。目前全部患者完成了3-6月或以上的术后随访,已获得的初步临床数据表明,产品的安全有效满足设计与产品注册的要求。按计划将于2023年2季度提交产品注册。
宁波健世科技股份有限公司,经静脉人工三尖瓣瓣膜系统(LuX-Valve Plus):
宁波健世:宁波健世科技股份有限公司(Jenscare Scientific Co., Ltd)是一家围绕结构性心脏病开发创新解决方案的医疗器械公司。自2011年公司成立以来,已通过自主研发,成功开发了多款创新产品,覆盖三尖瓣、二尖瓣、主动脉瓣和心衰治疗,并在不断延展产品管线,旨在为全球未获得有效治疗方案的患者提供“心动力”。Lux-Valve Plus 专为重度三尖瓣返流的患者而设计,经颈静脉植入,使人工瓣膜支架替代患者病理性的三尖瓣。经血管进入的优点在于手术时间更短、切口更小且对心脏组织的损伤更少,且LuX-Valve Plus 可多角度调整及调弯,使医生可更方便地调整释放位首及释放角度。宁波健世科技股份有限公司围绕结构性心脏病进行创新研发,于2022年10月10日登录港交所。
医工融合·智领未来,“2023国际心脑血管介入器械大会”将于5月12日在苏州盛大召开,瞄准心脑血管医疗器械前言技术+创新产品,聚焦心脑血管介入器械“产学研”全产业链;本次大会现场产品展示位50个,参与人数超过500人,诚邀业内相关企业共襄盛会!
联络人:吴先生136 1282 0654、何先生136 8646 8669
北京卡迪泰医疗器械科技有限公司,经导管三尖瓣修复系统(Trialign):
北京卡迪泰医疗器械科技有限公司:于2018年在北京经济技术开发区注册成立,公司致力于探索和开发疾病治疗的精准解决方案,专注于解决心血管及肺部疾病诊疗等领域的“卡脖子”难题,成为医生和患者可信赖的医疗器械公司,为推动国产医疗器械发展做出贡献。卡迪泰医疗依托母集团正大制药的优质资源,全力打造集研发、生产、销售于一体的创新医疗器械科技企业。公司本部配套国际先进的研发中心、生产车间、实验室等,拥有先进的医疗器械生产及检验设备。Trialign是基于Kay's瓣环成形术方法,而设计开发的经导管微创介入器械。该系统先在三尖瓣瓣环上植入一对锚片,利用折叠、锁定两个锚片并缩短二者之间的距离,从而降低因瓣环扩大、瓣叶关闭不全产生的三尖瓣反流。上海申淇医疗科技有限公司,经导管三尖瓣夹:
上海申淇医疗科技有限公司(“申淇医疗”):成立于2014年9月。申淇医疗是一家集研发、生产、销售于一体的创新医疗器械企业,产品布局涵盖心血管介入、结构性心脏病、外周血管介入和神经血管介入领域。公司旗下还拥有联营企业北京哈特凯尔医疗科技有限公司(“哈特凯尔”),为国内首家心衰超滤治疗设备研发生产企业。经导管三尖嘯夹采用了复合多向调弯输送系统,在两层鞘管上具备三个不同方向的调弯,能更好的适应心脏的解剖结构,达到很好的输送同轴性。产品具备四个不同型号的夹子及瓣叶分开捕获能力,能适用更加复杂多变的三尖瓣解剖。因该患者三尖瓣反流束较宽,利用瓣叶分开掩获的功能,于前隔瓣区域行馏膜缘对缘修复,术后即刻患者反流减至轻度。杭州创心医学科技有限公司,人工生物心脏瓣膜:
杭州创心医学科技有限公司:成立于 2008 年,是专业从事研制植入性人工生物医疗器械的企业,产品主要用于治疗心血管疾病。杭州创心医学科技有限公司于 2019 年在上海成立上海创心医学科技有限公司(简称‘创心医学’),专注于心血管领域的医疗器械创新研发。杭州创心医学科技有限公司和上海创心医学科技有限公司(以下简称‘公司’)与第四军医大学等多所高等专业科研机构以及来自德国柏林心脏中心等机构的专家建立了长期的技术合作关系,并集聚了一批富有创新精神的多学科研发人员,致力于在结构性心脏病、大血管及外周血管领域,提供真正具有自主创新的高端心血管医疗器械产品。创心医学的生物瓣由全生物材料组成,具有高生物相容性,特殊设计的弹性瓣架,使瓣架传到不同部位的应力较均匀。生产工艺采独特的抗钙化处理工艺,极大地提升了瓣膜的抗钙化性能,且优化生产路径,使得产线实现标准化,瓣膜成品率大大提高。杭州诺诚医疗器械有限公司,心脏射频消融设备(Liwen RF):
杭州诺诚医疗器械有限公司:成立于2017年11月,位于杭州市国家高新技术产业开发区内,是由德诺医疗集团孵化的创新型医疗器械研发企业。诺诚医疗致力于为全球无法得到有效救治的肥心病患者提供安全有效的治疗方式,旨在开发全球领先的中国式自主研发的创新医疗产品。公司自主研发的Liwen RF™射频消融系统通过国际首创的超声引导下的经心尖室间隔射频消融术,为肥厚型心肌病治疗提出了一种安全、有效、精确、微创的创新性治疗策略。Liwen RF是超声引导下经心肌室间隔射频消融术,具有创伤小、精准定位、不受靶血管限制的特性。产品能显著减少室间隔厚度、降低传导系统损伤等并发症,可使肥厚的心朋细胞脱水坏死,同时还可阻断肥厚心肌组织的血液供应,达到长期的预后效果。2021年11月,启明医疗收购诺诚医疗,加速推动了Liwen RF在全匡的临床研究进展。心诺普医疗技术(北京)有限公司,心脏冷冻消融系统:
心诺普医疗2005年成立于美国明尼苏达,2007年于北京成立全资子公司,目前拥有Navi Ease固定弯鞘、Rithm ID固定弯标测导管、Rithm Cool盐水灌注消融导管等。临床上使用心诺普全套标测系统和冷盐水消导管配合新上市的KODEX-EPD三维标测系统进行心脏电生理的手术。KODEX-EPD三维标测系统的PANO(内窥)的功能,给术者呈现了很好的视角去观察心腔内解剖结构与靶点的相对位置关系,有效提高手术成功率。Rithm ID固定弯标测导管由导管连接座、张力释放管和导管管体组成,适用于成人心脏电生理介入检查术,标测心赃腔内心电图或与相应设备配合发放刺激。四川锦江电子科技有限公司,心脏脉冲电场消融设备(LEAD-PFA):
四川锦江电子科技有限公司:锦江电子是一家专注于心脏电生理领域高端创新医疗器械研发、生产和销售的高新技术企业。深耕心脏电生理领域二十年,并基于对电子工程学和临床科学的深刻理解持续进行产品创新迭代,已形成了覆盖心脏电生理领域系统、设备与耗材的全产品矩阵,并向疼痛及血管介入领域进行拓展。目前,公司在售核心产品主要包括多道生理记录仪、消融仪、标测导管及消融导管等。在研管线方面,公司在最具临床应用潜力的PFA技术领域保持着国内最领先的电生理产品临床进度。LEAD-PFA是基于全磁定位三维系统的PFA产品,除了具有PFA脉冲电场消融技术的全部优势之外,还能结合全磁定位三维系统实现无X射线手术。当前公司LEAD-PFA脉冲电场消融系统注册临床试验完成半年以上随访。杭州德诺电生理医疗科技有限公司,一次性使用心脏脉冲电场消融导管(Cardio Pulse):
杭州德诺电生理医疗科技有限公司:德诺电生理(原诺茂医疗)是德诺医疗旗下致力于房颤电生理及卒中预防等介入医疗器械研发、制造、销售和技术支持的创新型医疗企业,主营产品为心脏房颤治疗等电生理器械和左心耳封堵器等卒中预防介入医疗器械。公司拥有专业化的研发团队,其核心产品CardioPulse房颤脉冲消融产品已经完成设计开发,SeaLA左心耳封堵器获批进入国家食品药品监督管理总局医疗器械技术审批中心的创新医疗器械特别审批程序,目前已经顺利完成NMPA注册临床试验入组。Cardio pulse的消电极能够实现多种解剖形态的肺静脉贴靠,对肺静脉进行快速安全消的同时进行高质量电信号标测。消融电极同时具有消融和标测功能,产品独特的多螺旋杆结构有利于不同直径形态的调整,更好适应不同肺静脉解剖差异,可在不依赖于三维标测系纟笥情况下完成肺静脉口内和前庭位置消融,最大程度避免食道、神经和血管损伤。上海睿刀医疗科技有限公司,脉冲电场消融设备:
上海睿刀医疗科技有限公司:成立于2016年9月,是一家专注于“不可逆电穿孔技术”的医疗科技公司,公司目前主要产品为基于不可逆电穿孔技术原理的“复合陡脉冲治疗设备”,公司对此拥有完全自主知识产权,该产品可应用于前列腺癌、肝癌、前列腺增生、房颤、胰腺癌等微创手术治疗,均已通过型式检测并陆续开展临床入组试验。睿刀脉冲电场消融设备采用新一代的高频复合不可逆电穿孔技术,复合双极脉冲对房颤患者肺静脉及前庭组织施加高强度微秒级、正负双极性、双相的电脉冲,使靶点心肌细胞发生不可逆电穿孔而死亡,从而阻断电信号在肺静脉及前庭位置的传导。与其他PFA技术相比,睿刀的手术均在“局麻+深度镇静''或“局麻,下完成手术过程中患者肌肉震颤极小、ICE(心腔内超声)下观察也几乎无微气泡产生,射频消糟缩短,且并发症降低。多中心注册临床试验已于2022年6月完成首例入组。武汉律动医疗科技有限公司,三维定位心内导引套件:
在传统手术中,卵圆窝穿刺通常需要借助X射线,并依靠医生的经验,错误穿刺引发的心包填塞是发生率最高也是最严重的并发症。律动医疗在现有成熟的三维标测技术基础上,利用心脏的电学特征,使本产品在三维标测系统中实时显示,利用卵圆窝的特殊电位进行精确定位,穿刺卵圆窝建立通道,彻底摆脱X射线依赖,实现了射频消融术的全程无射线,变房间隔穿刺为卵圆窝穿刺,更精准更安全。预计将在2023年8月获得产品的注册证。中科益安医疗科技(北京)股份有限公司,雷帕心素药物洗脱冠状动脉支架系统:
中科益安医疗科技(北京)股份有限公司:成立于2010年, 公司以提高植/介入医疗产品的临床功效、服务医生、造福人类为宗旨,致力发展高性能医用植/介入材料和医疗器械产品。公司成立十年来,与中国科学院金属研究所生物医用材料研发团队、首都医科大学安贞医院和复旦大学附属中山医院的心内科医生团队建立了稳定的技术合作关系。专注研发高性能植/介入材料及其器械。支架整体超薄超细,采用医用高氮无谟奥氏体不锈钢新材料,且不添加有害元素,使得产品有更优的生物相容性和亢疑血能,具备更高的力学性能和耐点腐忡性能,雷帕霉素药物作为涂层,提高支架的安全性和有效性。目前已开展临床试验。山东瑞安泰医疗技术有限公司,可吸收锌合金药物洗脱冠脉支架系统:
山东瑞安泰医疗技术有限公司,成立于2006年;创始人张海军,也是百多安创始人。曾在丹麦Aalborg university医学院担任助理教授,先后在Bayer AG担任产品经理、经理,cordimax德意志公司担任董事、总经理。
未搜到上述产品详细信息,读者可参考公司相关专利。

杭州巴泰医疗器械有限公司,紫杉醇药物涂层冠状动脉球囊扩张导管:
巴泰医疗:浙江巴泰医疗科技有限公司是一家致力于心血管及外周血管介入、植入高端医疗器械产品研发、生产和销售的国家高新技术企业。公司产品主要有紫杉醇洗脱PTCA球囊扩张导管、紫杉醇洗脱PTA球囊扩张导管、紫杉醇洗脱外周血管支架系统、PTCA球囊扩张导管、冠状动脉球囊扩张导管、PTA球囊扩张导管、外周球囊扩张导管、造影导管、导引导管和导管鞘组等。产品表面覆盖金属约束网,球囊充盈有效扩张病变的同时对血管壁有很大保护作用,能减少血管壁的损伤和限流性夹层的发生率。此外增加了血液灌注孔功能,使得在球囊扩张时仍然能保持远端冠脉的供血,提高药物的转移率和远期血管通畅率。杭州巴泰医疗器械有限公司,紫杉醇药物涂层外周球囊扩张导管:
球囊表面覆盖一层独特的金属约束网,球囊充盈时,球囊在金属网状约束下膨胀展开,形成枕名骈日减压槽,对血管壁作用力形成高低应力交替分布的应力分布形态,有广张病变的同时对血管壁有很大保护作用,防止引起病变边缘处血管损伤。相较于传统球囊带支架药物洗脱PTA球囊能够显著减少血管壁的损伤和限流性夹层的发生率,从而显著减少补救性支架的植入率。北京唯迈医疗设备有限公司,冠状动脉介入手术控制系统(E Tcath):
唯迈医疗专业专注于介入诊疗设备及全流程解决方案的提供,拥有多年数字血管成像产品研发设计及产业化经验,产品覆盖大型血管造影机(DSA)、移动式X射线C形臂、移动式X射线C形臂一体机、介入机器人等多条介入产品线;公司联合介入医生集团,引入“大服务”特色概念,积极布局科室运营、医生培训等介入领域。E Tcath实现高精度导管导丝仿生推送,且能适应多类型导管控制,具有完全自主知识产权。E Tcath能完全模拟人手精准推捻操作,触觉感知能有效保护手术安全,在DSA影像的指引下实现多类型导管控制。未来有望涌过信息加快推进介入技术在基层的普及,缓解我国微创介入医疗资源的紧缺问题。苏州润迈德医疗科技有限公司,冠状动脉功能测量系统(calMR):
润迈德医疗(02297):润迈德医疗集团创始于2014年,致力成为全球领先的血管介入手术机器人公司,目前专注于冠状动脉造影血流储备分数(caFFR)系统及冠状动脉造影微血管阻力指数(caIMR)系统的设计、研发及商业化。润迈德医疗自主创新、积极进取,逐渐织就全球化的研发、生产、销售、服务网络。既往导丝IMR测量需要使用血管扩张剂、反复注射生理盐水,测量时间长,手术风险高。calMR突破传统导丝IMR检测的不足,无需压力导丝和血管扩张剂,通过血管造影图像、TIMI血流速度和实时主动脉压力等,可在平均5分钟内计算IMR值,测验结果与导丝具有高度一致性,能够精准评估稳定性心绞痛不稳定性心绞痛和无梗阻性冠心病(INOCA)患者的微循环功能障碍。产品已顺利完成确证性试验临床入组,进入了注册临床阶段,由顶级心内科专家复旦大学附属中山医院葛均波院士和北京大学第一医院霍勇教授担任共同Pl。润迈德calMR、润迈德caFFR及具配套耗材纷纷顺利获批进入创新医疗器械绿色通道。北京阿迈特医疗器械有限公司,生物可吸收外周血管药物洗脱支架系统(PeriSorb):
北京阿迈特医疗器械有限公司:成立于2011年。利用3D精密打印技术进行完全可吸收冠脉血管支架和外周血管支架研发和生产的公司。公司拥有3D快速血管支架制造专利技术和完全的自主知识产权。它具有速度快,成品率高,产品的力学性能好等特点。PeriSorb是3D打印全降解外周支架植,具有完全自主知识产权,采用3D多轴精密打印技术、超柔顺闭环支架结构设计单面靶向紫杉醇药物涂层技术和新型耐疲劳全降解材料等多项技术,提高了全降解支架的径向支撑力和耐疲芳些能,有望改善局部的血液循环,解决下肢动脉硬化闭塞性疾病。上海蓝脉医疗科技有限公司,事机械血栓切除导管(Fishhawk):
Fishhawk是一款用于治疗急性髂股深静脉血栓的医疗器械,实现导管内切栓,即刻排出,降低了血尿、肾衰等手术并发症,满足静脉高负荷血栓的清除需求;此外还有独创的防缠绕隔断技术,可隔离血栓和传动部件,避免导管堵塞。杭州唯强医疗科技有限公司,静脉支架系统(Grency):
杭州唯强医疗科技有限公司成立于2016年5月, 唯强医疗专注于介入医疗器械的研发、制造、销售和技术支持,主营产品为大动脉覆膜支架系统、术中支架系统、介入球囊及周围血管支架等产品,是德诺集团旗下的一家提供更微创、更精准、更有效的诊疗方案和优先服务中国患者的中国创新企业。Grency静脉支架前端斜口设计更顺应髂静脉解剖形态,减少对侧血流遮裱月支架头端喇叭口且闭环的设计,在释放时提供了强力的径向支撑力,近端闭环部分可回收并重新释放从而达精准定位。优势在于可以跨关节,柔顺性较好,支架植入后患者下肢破溃情况短时间即得到明显缓解。武汉唯柯医疗科技有限公司,房间隔造孔心房分流器(D-shant):
唯柯医疗:于2018年7月18日成立,主要经营范围包括三类医疗器械的研发、技术服务、生产和销售,是一家致力于心脑血管疾病尤其是结构性心脏病微创介入领域的创新型企业。D-shant是国内首创的房间隔分流介入器械具有腰部径向支撑强、可回收和二次干顶、超薄形态记忆优良等特性·其与传统封堵器的编制原理有所不同,盘片不会因腰部压缩而变形增厚,腰部设计有足够的径向支撑力,保证稳定持续的左向石分流,分流孔径和分流量大小精准,使得左右心房压差达到目标范围。创新的内扣结构设计,使产品有效贴合房间隔位置,固定更牢固,有利于盘面内皮化,螺母偏心设计实现可二次干预。输送过程仅需8-10F鞘管,为同类最小,安全性、舒适度和兼容性更佳。2022年6月,已完成了首例受试者入组。先健科技(深圳)有限公司,主动脉弓支架系:
先健科技(01302.HK):于1999年成立于中国深圳,2011年在香港联合交易所上市。公司具自主知识产权的创新产品布局覆盖结构性心脏病、外周血管病、心脏节律管理等领域,并拥有全球首创的铁基可吸收生物材料平台,在多个细分领域实现技术突破。主动脉弓支架系统(开窗型),由Ankura MPlus主动脉弓主体支架系统和CSkirt主动脉弓分支支架系统(开窗型裙边支架)组成。CSkirt主动脉弓分支支架采用独创的双层内层支架可保证分支血管血漏甬畅,外层裙边可增强主动脉弓主体支架与分支支架之间的连接稳定性,有效封堵主体支架与分支支架之间的缝隙。通过Futhrough主动脉榿膜支架破膜系统刺破AnkuraTMPlus主动脉弓主体支架形成穿刺点,再利用球囊扩张穿刺点形成可供血液流通的“窗口”,继而沿导丝送入CSkirtTM主动脉弓分支支架穿过“窗口,完成释放。2021年8月,完成中国注册临床首例受试者入组。上海腾复医疗科技有限公司,肺动脉血栓取出系统(Tendvia):
腾复医疗:注册成立于2020年1月9日,公司主要从事静脉血管介入创新高端医疗器研发、制造和消售;医疗器科技领域内的技术开发、技术咨洵、技术转让、技术服务,医疗器货物或技术进出口,医疗器械经营。Tendvia 由血栓清除装置和血栓抽吸导管组合而成,是一款微创伤介入治疗的肺栓塞血栓清除系统。在临床过程中,将血栓清除装置的网篮释放在血栓位置,多个网篮的结构设计可一站式完成滤栓和取栓过程,机械取栓操作完成后再通过抽吸导管有效抽吸血栓,使肺动脉血流再通。这款肺动脉血栓取出系统将支架取栓与导管抽吸相结合的犭虫特设计,在无需使用辅助溶栓药物的情况下可以将血栓直接清除,使得有溶栓药物禁忌的患者也能收益于腾复医疗的创新产品,目前已完成首例Tendvia注册临床。P+FProducts+FeaturesGmbH,经导管植入双腔静脉式瓣膜系统(Tric Valve):
P+F Products + Features GmbH 是一家专注于研究、开发和制造心脏病学领域创新微创解决方案的医疗技术公司。P+F 总部位于奥地利维也纳,并在德国、葡萄牙、西班牙和巴西设有运营机构。Tric valve是一个由两个自膨胀生物瓣膜组成的系统,专门设计用于适应上腔静脉和下腔静脉的解剖学持性。用于治疗严重三尖瓣反流情况下的腔静脉回流问题无需摘除有缺陷的三尖瓣,适于风险极高或不适合心脏外科手术的患者。
上海微密医疗科技有限公司,自膨式颅内动脉瘤瘤内栓塞系统(Mesh coil):
微密医疗:上海微密医疗科技有限公司是国内专注于神经介入领域的高科技公司。微密医疗主要业务聚焦于脑血管病的创新型微创治疗技术研发及产业化,包含颅内动脉瘤新型微创介入治疗器械---颅内动脉瘤封堵器(MeshCoil)等,通过创新技术为脑血管病患者提供全新解决方案。Mesh Coil是动脉瘤封堵装,是治疗这种颅内动脉瘤的创新型血管内神经介入装置,与传统治疗手段相比,不需要球囊或支架等辅助装置、可缩短手术时间并增加患者安全性。产品由形状记忆合金丝编织的高密度网状结构组成,在释放打开后与动脉瘤壁貼合并榿盖动脉瘤颈,能减缓血流进入瘤内促进瘤内血栓形成,且能为血管内皮细胞生长提供平台,使得新生内膜更快地覆盖瘤颈口,将动脉瘤和载瘤动脉的血流隔绝,从而治愈动脉瘤。上海心玮医疗科技股份有限公司,颅内动脉瘤栓塞辅助支架:
心玮医疗(06609.HK)成立于 2016 年,心玮医疗在神经介入领域开拓性地打造了国内首个的卒中治疗及预防一站式解决方案,拥有从急性缺血性卒中和神经血管狭窄治疗、缺血性卒中预防、出血性卒中治疗到介入通路器械的全产品管线,申请专利超过 200 项。产品设计在支架中间错落分布显影点,是‘中段可视化’颅内自膨式激光雕刻支架,可以有效明确支架中间和动脉瘤瘤颈口的相对位置关系,支架释放后,可以通过支架中间显影点观察到其贴壁效果。微创神通医疗科技(上海)有限公司,颅内动脉支架(Rebridge):
微创神通:微创神通医疗科技(上海)有限公司成立于2012年,隶属于微创脑科学有限公司(2172.HK)经过多年发展,公司已建立全面的脑卒中介入治疗产品线,覆盖出血性脑卒中、动脉粥样硬化狭窄和急性缺血性脑卒中三大脑血管疾病领域,提供脑血管疾病治疗全解方案。常规的单纯弹篝圈栓塞的复发率较高,且有弹簧圈脱出载瘤动脉的风险,Rebridg以用于治疗颅内宽颈动脉瘤的辅助支架。与传统辅助支架相比在支架结构和输送方面结构两方面均实现了突破性设计,Rebridge采用全编织丝显影且两端全封闭的支架结构设计,勾柔顺性好,且整个支架的所有编织骨架在x射线下清晰可见,有利于术者观察支架的定位和在迂曲段的贴壁况,从而提高手术的成功性。此外,Rebridge支架采用可回收的超微输送结构,可使支架在释放的过程中实现多次回收再释放的功能,能在一些复杂病变中避免了支架和弹簧圄双侧股动脉穿刺建立介入通路的肩形,利于降低患者创伤,提高手术操作便捷性。武汉麦迪佳德医疗科技有限公司,抗栓塞脑保护系统
武汉麦迪佳德医疗科技有限公司于2018年4月17日成立,专注心脑血管微创医疗器械的研发、生产和销售,打造具有国际先进水平的心脑血管介入保护装置创新医疗器械系列产品。
上海微盾医疗科技有限公司:成立于2021年,是微创心通旗下公司。未见更多介绍。
感兴趣的读者可以参考其专利。截止2023年1月10日,共有30项。

丰凯利医疗器械(上海)有限公司,经皮跨瓣膜心室辅助系统
丰凯利医疗器械(上海)有限公司:于2015年9月成立,专门从事微创伤心室辅助装置开发。公司已建立了样品快速实现能力,并具备全面系统的测试能力。公司拥有的有效(已申请)知识产权数量超过150件,拥有的授权知识产权数量超过75件。
杭州端佑医疗科技有限公司,经导管二尖瓣夹系统
成立于2020年,为江苏臻亿医疗科技有限公司的全资子公司。
未查到公司产品介绍,感兴趣的读者可以参考其专利。

科凯(南通)生命科学有限公司,经导管二尖瓣修复系统
科凯(南通)生命科学有限公司:成立于2018年9月,是一家专注于结构性心脏病领域的医疗器械研发、生产和销售为一体的高端生物医药科技企业,开发针对不同人群、不同需求、不同场景瓣膜疾病的系统解决方案。未查到公司产品介绍,感兴趣的读者可以参考其专利。截至2023年1月10日,共137项。
江苏畅医达医疗科技有限公司,颅内动脉瘤辅助栓塞支架
江苏畅医达医疗科技有限公司:成立于2020年。据公众号介绍,公司涉及神经介入、神经调控两大治疗方向,覆盖出血性脑卒中、缺血性脑卒中,外周神经刺激、深部脑神经刺激、皮层感知深脑刺激等多个疾病领域。
杭州脉流科技有限公司 ,冠状动脉造影微循环阻力指数计算软件
杭州脉流科技有限公司 :创立于2017年,专注于提供全球领先的心脑血管疾病个体化诊疗解决方案。通过血流动力学计算仿真、图像处理、人工智能等技术为心脑血管疾病精准诊疗提供完整解决方案。公司拥有医学图像的快速三维重建、基于医学图像的深度学习、基于有限元的快速虚拟治疗仿真、基于计算流体力学的精准诊断等技术,开发了基于医学影像的心脑血管疾病智能诊断云平台,对心脑血管疾病进行精准化和个性化医疗,为患者和临床医生带来更好的治疗体验。
江苏霆升科技有限公司: 成立于2017年11月,是一家健康医疗领域服务商,针对心脏心律失常的创新介入治疗产品-心脏三维标测系统的研发工作,致力于实现心脏介入手术治疗的当地化服务。
上海以心医疗器械有限公司,经心尖二尖瓣瓣膜系统
上海以心医疗器械有限公司:成立于2017年,是一家心血管创新医疗器械研发商,其产品主要涵盖介入心脏瓣膜治疗产品、介入冠脉药物球囊产品及介入心衰治疗产品。据以心医疗公众号报道,MitraFix®经心尖二尖瓣瓣膜系统,是我国首款自主研发的采用经导管置换技术治疗二尖瓣返流的产品。该产品具有独特的瓣架设计:单层自膨瓣架,双排钝型锚钉固定机制,既可实现牢固固定,又可确保瓣叶精确对合,对植入操作容错度高;左室流出道中突起小,可锚定前叶的锚定爪设计同时具备固定和密封作用,使得LVOT风险更小并能够防止瓣膜在心脏收缩期前移(SAM 现象)。该产品为经心尖输送路径:在同类产品中,外径尺寸最小,可最大程度减少对心肌的损伤,独有的强回声方向标记和高度标记,能在仅有超声引导下实现瓣膜植入。MitraFix®经心尖二尖瓣瓣膜系统产品目前已开展确证性临床试验,操作简便极易上手,是全球首款在临床上实现全程仅需全超声引导的经导管二尖瓣介入置换系统,术中无需造影与射线,完全无辐射,手术时间仅仅二十分钟,医生学习曲线短,可以快速推广。杭州德晋医疗科技有限公司:成立于2015年,位于中国杭州国家高新技术产业开发区(滨江)。德晋专注于结构性心脏病领域尤其是二尖瓣和三尖瓣的相关治疗技术的研发,提供全球二尖瓣病变系统性解决方案。据德晋医疗公众号2022年8月报道,国内尚无注册上市的T-TEER治疗器械,由德晋医疗研发的DragonFly-T是全球继TriClip和PASCAL之外的第三个原创微创介入下经导管缘对缘瓣膜修复系统。2020年12月15日,浙江大学医学院附属第二医院王建安教授团队成功应用DragonFly-T完成中国大陆首例人体临床应用,这是中国第一款自主研发的经股静脉三尖瓣反流修复产品成功应用于临床,亦是中国大陆首例经导管三尖瓣修复手术,良好的手术效果充分验证了DragonFly-T在TR治疗中的可行性。近期(2022年8月),专门针对于三尖瓣位置缘对缘瓣膜修复而研发的DragonFly-T系统将开展全球首例确证性研究临床入组。